Tháp giải nhiệt TASHIN, Tháp giải nhiệt nước TSS 300RT* 2cell-Tổ hợp này bao gồm 2 tháp giải nhiệt vuông tashin TSS 300RT ghép lại thành 1 tổ tháp giải nhiệt nước 600rt thiết kế gọn. công suất giải nhiệt 2340000kcal/hr , lưu lượng nước giải nhiệt 468m3/h

Tháp giải nhiệt tashin TSS300*2cell, 300ton*2cell, 600ton.
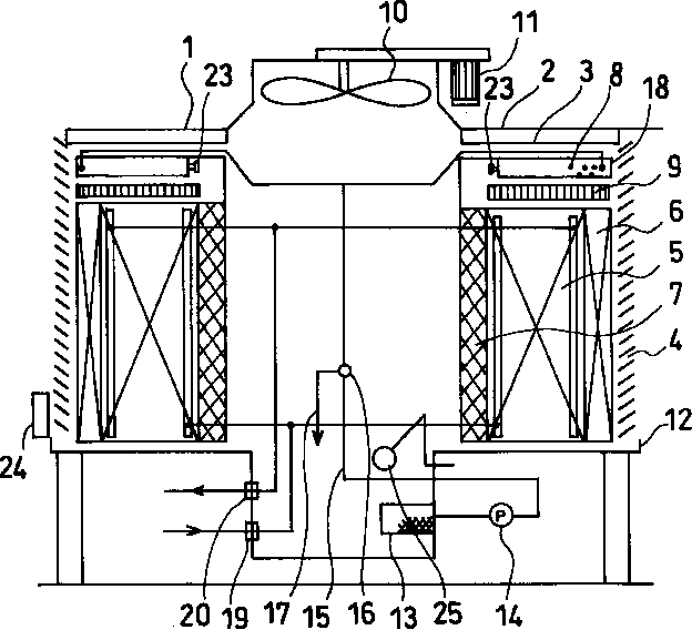
Tháp giải nhiệt nước tashin TSS hoạt động như sau-không khí được hút theo phương thẳng đứng từ bồn nước lên họng gió. Luồng khí tiếp xúc với bề mặt của màng giải nhiệt, tấm giải nhiệt, filling giải nhiệt được gắn kết hai bên thành tháp giải nhiệt. Lưu lượng nước chảy thẳng xuống bởi trọng lực. Không khí luân chuyển xuyên qua màng giải nhiệt và hòa quyển với không khí bên ngoài được hút vào và thổi thẳng lên trên qua họng hút. Hệ thống phân phối nước hoặc bồn nước có gắn lỗ cấp nước, thoát nước để góp phần cho việc tuần hoàn nước. Luồng nước được chia đều trên bề mặt màng giải nhiệt ( Tấm giải nhiệt ) thông qua những lỗ tròn trên hệ thống phân nước.nhờ đó nước hạ nhiệt độ đáng kể,
Công trình lắp tháp giải nhiệt tashin TSS Do công ty Xương Minh cung cung cấp.
Bản vẽ mô phỏng tháp giải nhiệt TASIN TSS
* Thông số kỹ thuật của Tháp giải nhiệt vuông, tháp giải nhiệt tashin TSS300*2cell, 300rt, 300ton*2cell.
– Kích thước ( dài, rộng, cao ) : 5400mm, 4880 mm, 3825mm
– Trọng lượng khô 6520kg, Trọng lượng khi hoạt động 12220kg
– Đường ống vào : 2*DN150 , Đường ống ra : 4*DN150
– Khả năng làm mát: 2340000 kcal/Hr
– Công suất động cơ: 7,5kW , 10Hp
– Lưu lượng gió: 3750 m3/phút
– Lưu lượng nước: 7800 l/phút
– Khung, giá đỡ, được gia công kẽm nhúng nóng, theo tiêu chuẩn Mỹ, Nhật, Hàn Quốc .
– Xuất xứ: Taiwan
* Quý khách có nhu cầu tháp giải nhiệt vuông hay cần tư vấn về tháp giải nhiệt nước, giá tháp giải nhiệt Tashin xin liên hệ 0913 201 426
Tháp giải nhiệt, tháp giải nhiệt nước tashin
– Quý khách xem hướng dẫn lắp tháp giải nhiệt nước tashin TSS300rt, 300ton*2cell tại đây.

#300rt, #250rt
#350rt
* Để tăng độ bền của tháp giải nhiệt, tăng hiệu quả làm mát nước, hạn chế hỏng hóc trong quá trình sử dụng, người dùng cần thường xuyên vệ sinh một số linh kiện sau:
– Tấm tản nhiệt: Người dùng sử dụng máy rửa xe áp lực cao kết hợp với dung dịch hóa chất chuyên dụng để loại sạch bụi bẩn, cáu cặn cho linh kiện.
– Cánh quạt: Bạn cần thực hiện kiểm tra và vệ sinh cho cánh quạt tháp giải nhiệt sạch bụi bẩn, đảm bảo điều chỉnh độ nghiêng của cánh quạt như thiết kế ban đầu.
– Máng chia nước: Nếu bạn thấy máng chia nước có biểu hiệnnước rơi chậm, chia nước ko đều so với yêu cầu của nhà sản xuất đưa ra hoặc tắc hẳn thì người dùng cần kiểm tra xem máng, khung đỡ có nhiều bụi bẩn không sau đó xịt sạch cặn bẩn trên máng, thông tắc để tăng hiệu quả làm việc của tháp.
– Vỏ bồn và đế bồn: Mặc dù được cấu tạo từ nhiều sợi thủy tinh chống gỉ, ăn mòn nhưng sau một thời gian dài sử dụng bạn cần dùng nước và nước rửa đế bồn để xịt rửa, loại bỏ rong rêu, cặn bẩn, mạng nhện;…
Công ty TNHH TM Xương Minh chuyên phân phối và lắp đặt tháp giải nhiệt – linh kiện tháp giải nhiệt Tashin chính hãng giá tốt nhất. Để được biết thêm chi tiết và tư vấn lắp đặt tháp giải nhiệt – Cooling Tower Quý khách có nhu cầu sử dụng Tháp giải nhiệt tashin xin vui lòng liên hệ trực tiếp với chúng tôi để mua hàng và báo giá sản phẩm :
Công ty TNHH Thương mại Xương Minh – Hotline: 0913201426
Địa chỉ VPGD: Nhà số 3, đường 2.2, khu SHOP HOUSE, khu đô thị GAMUDA GARDENS, đường Nam Dư, quận Hoàng Mai, Hà Nội
Điện thoại: (04) 62620101; 62620443; 62620445 Fax: (04) 62620447
Email: daothanhbinh66@gmail.com – xuongminhcongty@gmail.com
Website: www.thapgiainhiettashin.vn
Để tìm hiểu thêm các chủng loại tháp giải nhiệt khác, quý khách vui lòng click tại đây
* Tags: tháp giải nhiệt, tháp giải nhiệt nước, tháp giải nhiệt tashin, tháp giải nhiệt vuông, 300ton
Tháp giải nhiệt TASHIN TSS 300RT*2cell, Thap giai nhiet 300RT*2cell, Tháp giải nhiệt công nghiệp, Bán thap giai nhiet, Giá thap giai nhiet nuoc, thap giai nhiet, Tháp giải nhiệt tashin 300RT,



